日本peacock孔雀针盘式千分表5B厂家直销 - batway必威登录

进口加工测量工具综合供应商

全国服务热线:136-1299-7620

139-2374-6165

产品详情分类

孔雀针盘式千分表5B

日本peacock孔雀针盘式千分表5B,精度:0.001mm,量程:1.0mm,测头型号为:X-1,凸背可旋转90°使用。


孔雀千分表5B



产品特点:



测头连接微型轴承,提升了测量的稳定性和敏感度。  

O型环设计提高了防水和防油性。  

淬火硬化,强度大。 

 凸背,可旋转90°使用。


产品参数:


型号: 5B

精度:0.001mm

量程:1.0mm

测头型号为:X-1

特性:凸背




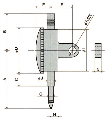
产品尺寸:





在线留言0755-29695109
姓名:
手机:
备注:

提 交
Baidu
map