日本原装进口孔雀peacock百分表207,精度0.01mm,测量范围0-20mm.
日本孔雀PEACOCK百分表207
产品特点:
测头连接微型轴承,提升了测量的稳定性和敏感度。
O型环设计提高了防水和防油性。
淬火硬化,强度大。
凸背,可旋转90°使用。
产品参数:
型号: 207
精度:0.01mm
量程:20.0mm
测头型号为:X-1
特性:凸背
型 式 | 目 量 | 测定范围 | 刻度规格 | 指示誤差 (μm) | 返回误差 | 重复 | 測定力 | ||||
1/10旋转 | 1/2旋转 | 1旋转 | 2旋转 | 全测定 | |||||||
207 | 0.01 | 20 | ±0 -50- 100 | 10 | -- | ±15 | -- | ±20 | 7 | 5 | 2.0 |
207F-T | 0.01 | 20 | ±100 -50- 0 | 10 | -- | ±15 | -- | ±20 | 7 | 5 | 2.0 |
207F-PL | 0.01 | 20 | ±0 -50- 100 | 10 | -- | ±15 | -- | ±20 | 7 | 5 | 2.0 |
207S-LL | 0.01 | 20 | ±0 -50- 100 | 10 | -- | ±15 | -- | ±20 | 7 | 5 | 2.0 |
207S | 0.01 | 20 | ±0 -50- 100 | 10 | -- | ±15 | -- | ±20 | 7 | 5 | 2.0 |
207W | 0.01 | 20 | ±0 -50- 100 | 10 | -- | ±15 | -- | ±20 | 7 | 5 | 2.0 |
207WF-T | 0.01 | 20 | ±100 -50- 0 | 10 | -- | ±15 | -- | ±20 | 7 | 5 | 2.0 |
307S | 0.01 | 30 | ±0 -50- 100 | 14 | -- | ±18 | -- | ±25 | 7 | 5 | 2.2 |
307 | 0.01 | 30 | ±0 -50- 100 | 14 | -- | ±18 | -- | ±25 | 7 | 5 | 2.2 |
507 | 0.01 | 50 | ±0 -50- 100 | 15 | -- | ±20 | -- | ±35 | 9 | 5 | 2.5 |
509 | 0.05 | 50 | ±0 -5- 10 | 30 | -- | ±100 | -- | ±100 | 10 | 20 | 2.5 |
809 | 0.1 | 80 | ±0 -5- 10 | 50 | -- | ±100 | -- | ±100 | -- | 35 | 2.5 |
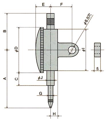
产品尺寸:
型 式 | A | B | C | D | E | F | G | H | I | J |
207 | 90 | 41 | 25 | 66.5 | 14.5 | 20 | 5 | 7.5 | 62.5 | 8.0 |
207F-PL | 90 | 41 | 25 | 66.5 | 14.5 | -- | 5 | 7.5 | 62.5 | 8.0 |
207F-T | 90 | 41 | 25 | 66.5 | 14.5 | -- | 5 | 7.5 | 62.5 | 8.0 |
207S-LL | 75 | 50.5 | 18.5 | 53 | 14.5 | 20 | 4 | 6.5 | 49 | 8.0 |
207S | 75 | 50.5 | 18.5 | 53 | 14.5 | 20 | 4 | 6.5 | 49 | 8.0 |
207W | 75 | 50.5 | 17.5 | 55 | 17 | 20 | 4 | 6.5 | 49 | 8.0 |
207WF-T | 75 | 50.5 | 17.5 | 55 | 17 | -- | 4 | 6.5 | 49 | 8.0 |
307S | 107 | 89 | 22 | 57 | 17.5 | 20 | 5 | 7 | 52 | 8.0 |
307 | 102 | 46 | 22.8 | 75.5 | 17.5 | 21 | 5 | 8 | 72.5 | 8.0 |
507 | 128 | 81.5 | 26.7 | 81.5 | 17.5 | 21.5 | 5.5 | 8.5 | 78.5 | 8.0 |
509 | 128 | 81.5 | 26.7 | 81.5 | 17.5 | 21.5 | 5.5 | 8.5 | 78.5 | 8.0 |
809 | 201.5 | 86.5 | 54 | 112 | 24 | 22.5 | 6 | 10 | 108 | 8.0 |
姓名: |
|
手机: | |
备注: |
|
提 交 |